Sony tạo đột phá: NPC có khả năng “học theo” người chơi
-
12/03/2025
- PlayStation
Gần đây, Sony đã chính thức công bố một bằng sáng chế về phần mềm trí tuệ nhân tạo (AI) với khả năng học máy độc đáo và đầy tiềm năng.
-
Monster Hunter Wilds: Khám phá toàn bộ vùng đất hoang dã
-
Kotaro Uchikoshi tiết lộ: Cách tôi tạo ra những câu chuyện bí ẩn gây nghiện
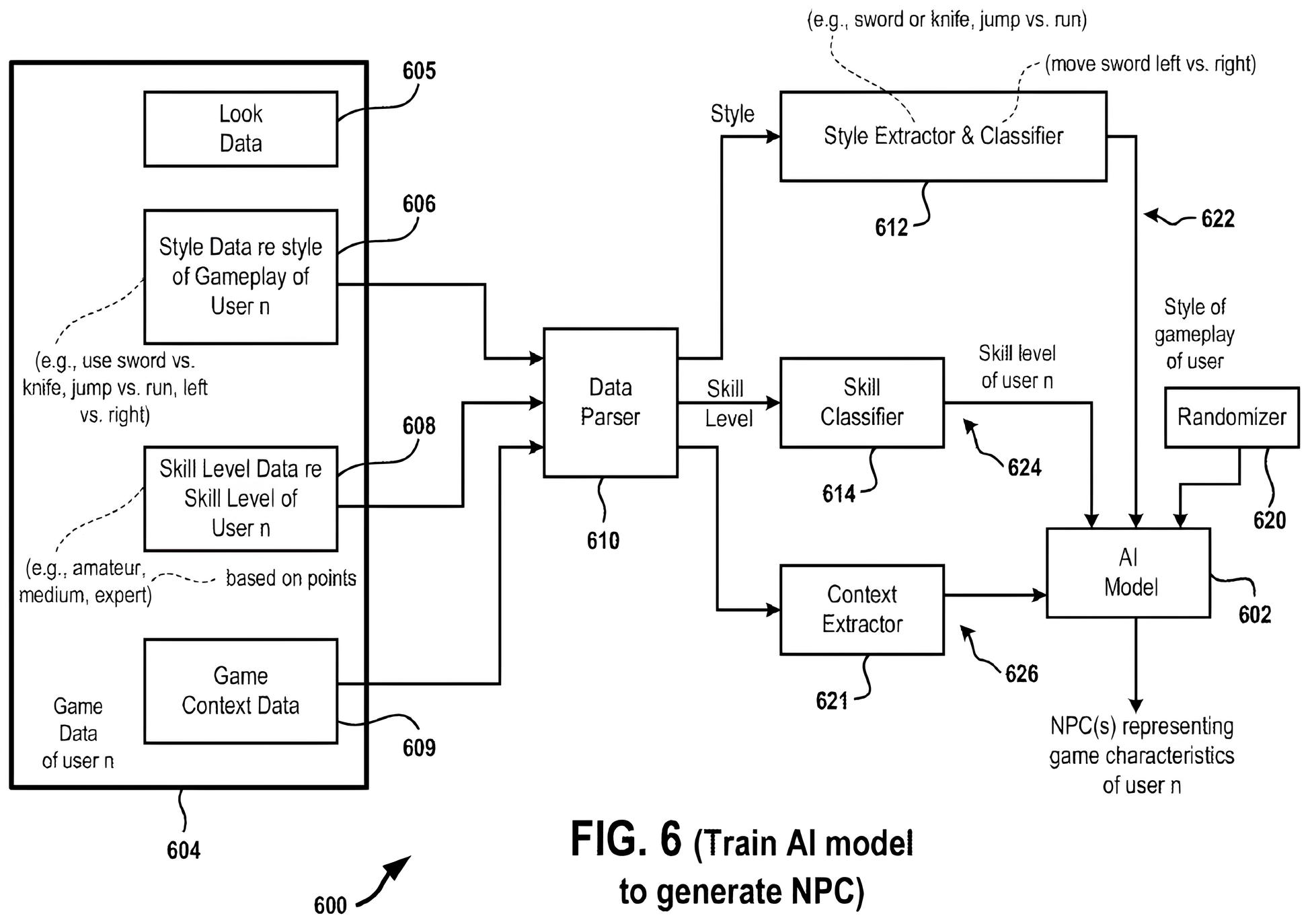
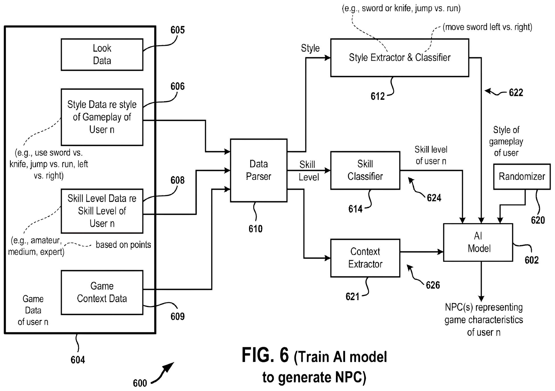
Phần mềm này có khả năng thu thập dữ liệu từ các trận đấu nhiều người chơi và tạo ra các đồng đội NPC (nhân vật không điều khiển được) phản ánh chính xác phong cách chơi của từng game thủ. Tham vọng này cho thấy sự quan tâm ngày càng tăng của các hãng game đối với AI, đồng thời hứa hẹn mang đến trải nghiệm chơi game co-op dễ dàng hơn cho người chơi đơn.
NPC “sao chép” – Đồng đội AI cá nhân hóa
Bằng sáng chế, được nộp vào tháng 8 năm 2023 và công bố vào ngày 6 tháng 3 năm 2025, mô tả một hệ thống “NPC tạo sinh” sử dụng AI để tạo ra các NPC mô phỏng phong cách chơi của người thật. Người chơi sẽ đồng ý cho phép dữ liệu chơi game của họ được sử dụng để huấn luyện mô hình AI, từ đó tạo ra một đồng đội NPC. NPC này có thể thay thế hoặc bổ sung cho người chơi thật, giúp người chơi đơn tận hưởng các chế độ nhiều người chơi mà không cần phải ghép đội với người lạ. Thay vào đó, họ có thể chơi cùng “bản sao” của bạn bè.
Cách hoạt động của hệ thống
Theo bằng sáng chế, cần ít nhất hai người chơi để thu thập đủ dữ liệu tạo ra NPC. Dữ liệu này sẽ được kết hợp với các chỉ số trọng số định sẵn để đảm bảo NPC AI phản ánh chính xác phong cách chơi và trình độ của người chơi gốc. NPC này có thể được sử dụng trong các trận đấu nhiều người chơi bởi người chơi đơn. Khi người chơi thật tham gia, họ có thể thay thế NPC hoặc chơi cùng cả NPC và người chơi khác để tạo thành nhóm lớn hơn.
Tiềm năng và thách thức
Phát minh của Sony mở ra nhiều cơ hội mới cho game nhiều người chơi trực tuyến, nhưng hiện tại không có gì đảm bảo rằng Sony sẽ phát triển và ra mắt phần mềm này. Mặc dù AI vẫn gây tranh cãi trong lĩnh vực sáng tạo, nhưng AI học máy đã chứng minh được tính hữu ích trong việc cải thiện trải nghiệm game. Việc sử dụng AI để tạo ra các NPC “sao chép” phong cách người chơi có thể giúp game thủ tiếp cận dễ dàng hơn với các chế độ co-op, đặc biệt là những người thích chơi đơn hoặc muốn chơi cùng bạn bè ảo.
Tuy nhiên, cũng cần lưu ý rằng việc thu thập và sử dụng dữ liệu người chơi cần được thực hiện một cách minh bạch và có sự đồng ý của người dùng. Ngoài ra, việc đảm bảo tính công bằng và tránh lạm dụng hệ thống cũng là những thách thức cần được giải quyết.
- Meta khai tử 3 studio game VR danh tiếng - 14/01/2026
- Mushoku Tensei mùa 3 ấn định thời điểm lên sóng - 14/01/2026
- Vị thế độc tôn của Steam sắp kết thúc? - 14/01/2026
Chia sẻ:






Nhận xét
Hãy vui vẻ trò chuyện cùng nhau, đừng toxic. Báo cáo hành vi xấu tại. Liên hệ